人
已阅读
已阅读
小米屏下摄像头专利公布 无极4是哪里的采用弹出
作者:无极4平台 来源:无极4平台 发布时间:2021-11-23

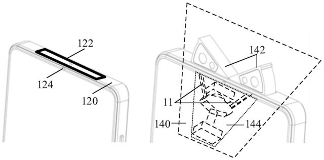
今日小米申请的旋出式摄像模组及终端在中国专利公布报告中出现,无极4是哪里的 新专利将摄像头隐藏才手机中框内,不占用屏幕空间,从而提升屏占比,并且摄像头模组的弹出方式也经过改良,无极4平台好吗 以狐线作为运动轨迹,可以更加快速的弹出摄像头。
小米旗舰手机小米12系列将于下个月发布 ,据爆料新机将采用屏下摄像头方案,并且首发搭载骁龙898处理器,同时采用续航新科技,本次公布的专利能否用在小米12身上目前未知,无极4的意思 中关村在线将会为您持续报道。

