人
已阅读
已阅读
苹果开始测试新iPhone:无极4新闻外形大革新
作者:无极4平台 来源:无极4平台 发布时间:2020-12-04

业内人士曝光,无极4新闻 苹果已经在测试新的iPhone,这将是苹果旗下首款折叠屏手机。最新的进展显示,苹果正在继续研发可以沿着铰链衔接点折叠和展开的非传统显示技术,很可能用于未来的可折叠iPhone。
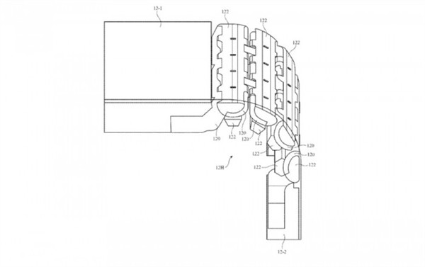
在昨天的一项"具有可折叠扩展显示屏的电子设备 "专利申请中,无极4靠谱吗 苹果对相关铰链结构进行了更详细的描述。铰链结构可能包括齿轮齿、皮带和/或其他运动同步结构,还包括在弯曲过程中相对移动的构件。
这些移动的构件可能受制于具有对立弯曲的轴承表面杆和链节,无极4怎么样的 其中包括防止杆和链节相对于彼此过度旋转的止动表面。
之前本站也曾曝光过,这款新的iPhone预计到2022年发布,售价是1499美元起步,超过万元人民币。

