人
已阅读
已阅读
索尼申请PS5相关专利无极4靠谱吗 云游戏方式兼容
作者:无极4平台 来源:无极4平台 发布时间:2020-07-14
北京时间7月13日消息,无极4靠谱吗根据日本专利信息平台网站最新信息显示,索尼在7月2日的时候申请了一项专利,通过这项专利我们可能看出,索尼希望使用云游戏技术来实现老游戏的兼容。
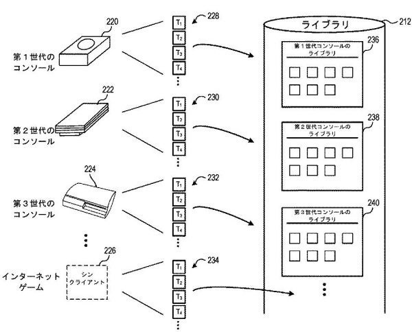
根据专利网站,这一专利描述为:“一种系统将包含远程处理服务器,该服务器负责执行游戏程序、接收用户输入并与本地客户端通信来在显示器上显示图像。”显然,无极4新闻这样的技术可以让索尼的PS1、PS2和PS3游戏顺畅的运行在PS5上。
此前,国外知名爆料人IronManPS5爆出了数字无光驱版399欧元、蓝光光驱版499欧元发售价格的消息。在2013年PS4主机发布时,欧版起步价同样是399欧元500GB硬盘版,这预示着索尼之所以第一时间拿出无光驱版,就是想保持和当年PS4发布时一致。

根据专利网站,这一专利描述为:“一种系统将包含远程处理服务器,该服务器负责执行游戏程序、接收用户输入并与本地客户端通信来在显示器上显示图像。”显然,无极4新闻这样的技术可以让索尼的PS1、PS2和PS3游戏顺畅的运行在PS5上。
此前,国外知名爆料人IronManPS5爆出了数字无光驱版399欧元、蓝光光驱版499欧元发售价格的消息。在2013年PS4主机发布时,欧版起步价同样是399欧元500GB硬盘版,这预示着索尼之所以第一时间拿出无光驱版,就是想保持和当年PS4发布时一致。

