人
已阅读
已阅读
无极4开户产品百度手机外观曝光 有点像iPhone 1
作者:无极4平台 来源:无极4平台 发布时间:2023-05-13

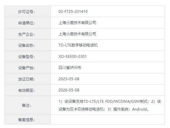
百度小度将在本月发布手机,无极4开户产品 目前已经命名为“小度青禾”。小度青禾手机已经入网,型号为XD-SEE00-2301,无极4注册优惠 “证件照”也公布了出来。小度青禾正面采用水滴打孔直屏,后置方形影像模组,内部两颗镜头纵向排列,旁边还有圆形闪光灯。
小度智能屏1S 触屏音箱 蓝牙音响 AI语音控制 视频通话家庭影院 收音机 闹钟 小孩学习老人陪伴礼物 白
新机将将搭载高通骁龙8+ 5G处理器,配备有12GB+512GB的存储组合,无极4福利 后置1亿像素主摄+800万像素超广角镜头+200万像素显微镜头。
纠错与问题建议标签:智能音箱

